Achsen, Wellen und Zapfen: Unterschied zwischen den Versionen
Teddy (Diskussion | Beiträge) (→Berechungsbeispiele) |
Teddy (Diskussion | Beiträge) (→Berechungsbeispiel:) |
||
Zeile 96: | Zeile 96: | ||
c) | c) | ||
Für den auf volle 5 mm gerundeten Achsdurchmesser d1 ist die erforderliche Sicherheit gegen Dauerbruch SD nachzuweisen. (Übergangsradius r = 0,6 mm, Oberflächenrauheit RZ = 6,3 μm). | Für den auf volle 5 mm gerundeten Achsdurchmesser d1 ist die erforderliche Sicherheit gegen Dauerbruch SD nachzuweisen. (Übergangsradius r = 0,6 mm, Oberflächenrauheit RZ = 6,3 μm). | ||
+ | <br /> | ||
+ | <br /> | ||
+ | <br /> | ||
= Literatur := | = Literatur := |
Version vom 8. Oktober 2008, 19:16 Uhr
Hallo 216.73.216.86, viel Spaß beim lesen.
Inhaltsverzeichnis
Funktion und Wirkung
Achsen, Wellen und Zapfen begegnen uns überall im Alltag.
Achsen
Achsen sind zum Tragen und Lagern von Laufrädern, Seilrollen, Hebel etc..
Sie übertragen kein Drehmoment.
Sie werden durch Querkräfte auf Biegung, weniger durch Längskräfte zusätzlich noch auf Zug oder Druck beansprucht.
Achsen werden unterteilt in:
- feststehende Achsen
- umlaufende Achsen
Feststehende Achsen:
Auf feststehende Achsen drehen sich die Teile (z.B Seilrollen) lose.
Wegen der nur ruhend oder schwellend auftretenden Biegung beanspruchungsmäßig günstig.
Umlaufende Achsen:
Auf ihnen sitzen die Bauteile (z.B. Laufräder) fest.
Umlaufende Achsen wechselnd auf Biegung beansprucht, daher ist ihre Tragfähigkeit geringer als bei feststehenden Achsen
Bei umlaufenden Achsen ist eine leichte Wartung der Lager möglich
Wellen
Wellen laufen ausschließlich um.
Sie übertragen das Drehmoment auf Zahnräder, Riemenscheiben.
Wellen werden auf Torsion und durch Querkräfte zusätzlich auf Biegung beansprucht.
Durch Kegelräder/schrägverzahnte Stirnräder werden zusätzliche Längskräftein Wellen eingeleitet.
Es gibt zwei Sonderausführungen von Wellen:
Gelenkwellen
Biegsame Wellen
Zapfen
Zapfen dienen zum Tragen und Lagern.
Sie sind meist abgesetzte Enden von Wellen und Achsen oder als Einzelelement (z.B. Kurbelzapfen)vorhanden.
Zappfen können zylindrisch, kegelig oder kugelförmig ausgebildet sein.
Gestalten und Entwerfen
Festigkeit
Gedrängte Bauweise mit kleinen Rad- und Lagerabständen.
Dauerbruchgefahr ausschalten.
Möglichst einfache und kostensparende Fertigung.
Vermeidung gefährdeter Kerbstellen.
Keil- und Passfedernuten nicht bis an die Übergänge heranführen.
Räder und Scheiben gegen axiales Verschieben durch Distanzscheiben- oder hülsen, Stellringe und nicht durch Sicherungsringe sichern.
Möglichst Fertigwellen verwenden.
Feststehende Achsen gegenüber umlaufenden bevorzugen wegen der günstigeren Beanspruchungsverhältnisse.
Lager dicht an Scheibe und Räder setzen.
Elastisches Verhalten
Bei langen Wellen auf Verdrehung achten (Torsion).
Bei hohen Drehzahlen Schwingungen des Systems beachten.
genaue rechnerische Ermittlung der Neigung, Durchbiegung bzw. torsionskritischen Drehzahl ist bei mehrfach abgesetzten Wellen zeitaufwändig.
(Es werden Rechnerprogramme benutzt)
Sind steife Wellen gefordert müssen diese kurz gestaltet oder als Hohlwellen ausgeführt werden.
Allgemein ist eine möglichst hohe kritische Drehzahl anzustreben, mindestens 10-20% über Betriebsdrehzahl.
Kritische Drehzahl
Lager dicht an umlaufende Scheiben, Räder setzen, um die Durchbiegung klein zu halten.
Wellen für hohe Drehzahlen sorgfältig auswuchten, um Fliehkräfte klein zu halten.
Umlaufende Scheiben, Räder, Kupplungen usw. leicht bauen, für ein kleines Massenträgheitsmoment.
Werkstoff
Aus wirtschaftlichen Gründen den Werkstoff nicht hochwertiger als unbedingt erforderlich auswählen. Bei besonderen Anforderungen an die Achsen und Wellen kann der Einsatz von hochwertigen Werkstoffen erforderlich werden.
Beanspruchung | Werkstoffe |
---|---|
normal beanspruchte Achsen und Wellen | unlegierte Baustähle z.B. S235, S275 |
höher beanspruchte Achsen und Wellen | Vergütungsstähle z.B. 25CrMo4, 28Mn6 |
Beanspruchung auf Verschleiß | Einsatzstähle z.B. C15, 17CrNiMo6 |
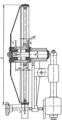
Berechungsbeispiel:
Die Skizze zeigt die Lagerung der oberen Bandrolle einer Bandsäge mit D = 400 mm Durchmesser. Bei einer Antriebsleistung der Säge von P = 3 kW bei n =750 min-1 ist aufgrund der erforderlichen Vorspannung des Sägebandes und unter Berücksichtigung der vorliegenden Betriebsverhältnisse mit einer Rollenkraft F ≈ 1 kN zu rechnen.
a)
Der Durchmesser d1 der Achse aus S235JR ist überschlägig zu ermitteln. Für die verschiebbaren Innenringe der Wälzlager (Rillenkugellager DIN 625) ist für die Achse die Toleranzklasse j5 vorzusehen.
b)
Für den auf volle 5 mm gerundeten Achsdurchmesser d1 ist die erforderliche Sicherheit gegen Fließen SF nachzuweisen.
c)
Für den auf volle 5 mm gerundeten Achsdurchmesser d1 ist die erforderliche Sicherheit gegen Dauerbruch SD nachzuweisen. (Übergangsradius r = 0,6 mm, Oberflächenrauheit RZ = 6,3 μm).
Literatur :
![]() |
Roloff/Matek Maschinenelemente, Lehrbuch und Tabellenbuch Vieweg Verlag 18.Auflage 2007 ISBN 978-3-8348-0262-0, Preis € 36,90 |
![]() |
Roloff/Matek Maschinenelemente, Formelsammlung Vieweg Verlag 9.Auflage 2008 ISBN 978-3-8348-0534-8, Preis € 20,90 |
![]() |
Roloff/Matek Maschinenelemente, Aufgabensammlung Vieweg Verlag 14.Auflage 2007 ISBN 978-3-8348-0340-5 , Preis € 26,00 |
![]() |
Alfred Böge Handbuch Maschinenbau Vieweg Verlag 18.Auflage 2007 ISBN 978-3-8348-0110-4 , Preis € 69,90 |
![]() |
Tabellenbuch Metall Europa Lehrmittel Verlag 44.Auflage 2008 ISBN 978-3-8085-1724-6 , Preis € 23,80 |
![]() |
Schierbock Formeln und Tabellen für metalltechnische Berufe Bildungsverlag1 17.Auflage 2007 ISBN 978-3-8239-7140-5 , Preis € 13,80 |
![]() |
Dubbel Taschenbuch für den Maschinenbau Springer Verlag 22.Auflage 2007 ISBN 978-3-540-49714-1 , Preis € 79,95 |
--Teddy 08:10, 30. Aug. 2008 (CEST)